物件掲載企業数:301|賃貸物件:3,260件|売買物件:3,253件|今週の登録物件:268
閲覧中のブラウザ(インターネットエクスプローラー)は非推奨ブラウザです。
物件が正しく表示されなかったり、正しく検索されない場合があります。最新のブラウザ(Google Chrome・Edgeなど)にてご利用お願いいたします。
  

新潟県長岡市愛宕3丁目 甲1509番 売土地・分譲地 8,500,000円の物件情報

【R7.8.12価格改定960万円→850万円】国道、スーパー、飲食店等近く利便性良好の立地!敷地53坪の整形地につき住宅用地として最適です。

物件名/所在地 詳細 価格
愛宕3丁目 売土地
新潟県長岡市愛宕3丁目 甲1509番
  • 土地面積
    :177.46㎡ /53.68坪
  • 坪単価
    :158,345円/坪
  • 建ぺい率
    :60%
  • 容積率
    :160%
8,500,000
  • 愛宕3丁目 売土地
    髙頭不動産 株式会社
  • この物件を問い合わせる/無料
  • TEL: 0120-1818-27

物件画像

外観 間取り
物件画像
※画像クリックで拡大表示
外観
物件画像
※画像クリックで拡大表示
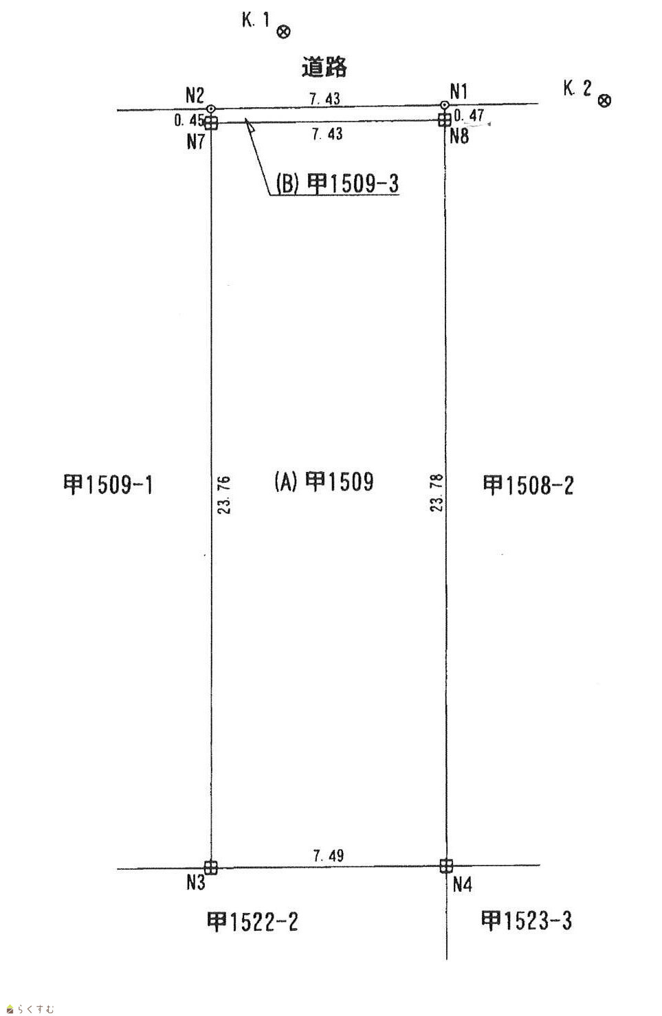
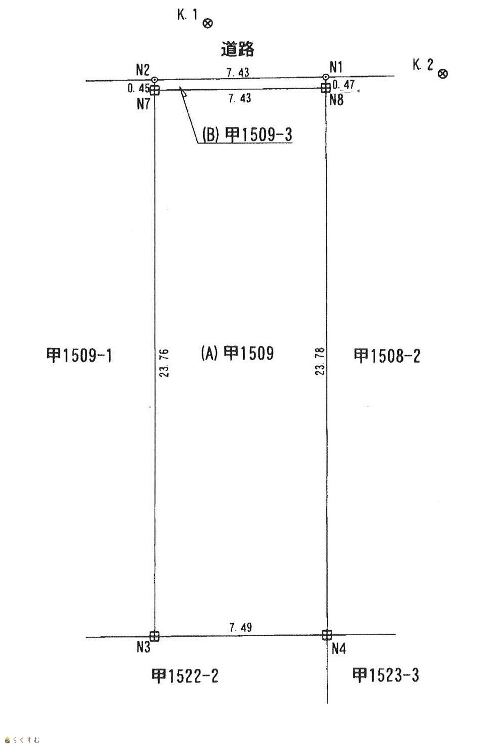
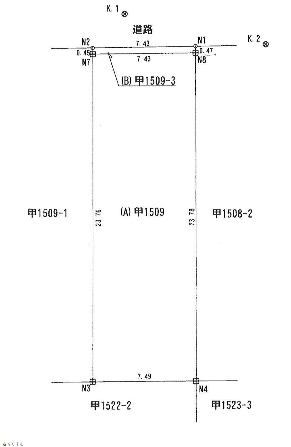
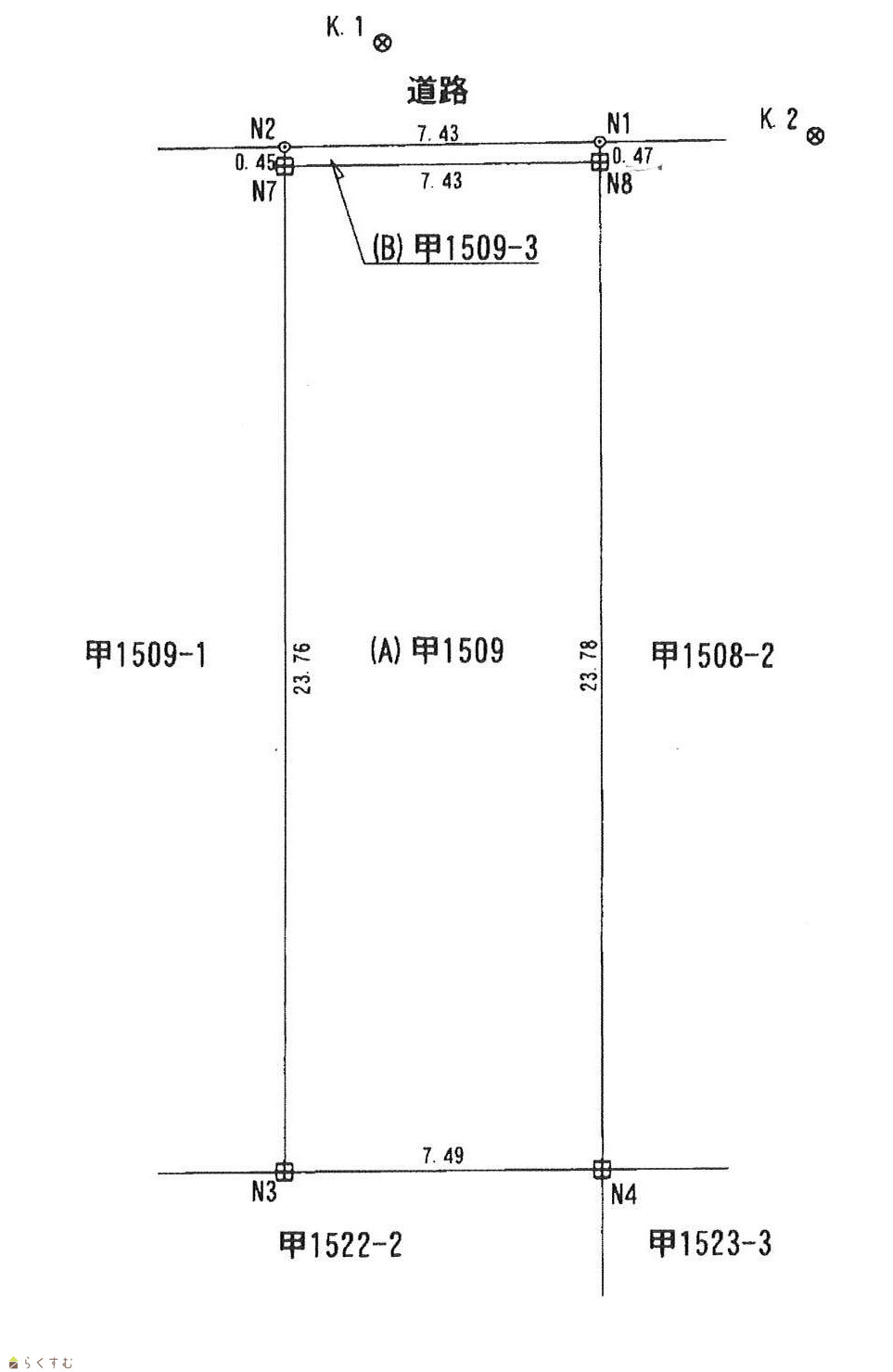
地積測量図
詳細画像


物件概要

前面道路消雪パイプ完備。
物件コード 00040-201024
物件名 愛宕3丁目 売土地
交通 駅:信越線 長岡駅から徒歩19分、バス:東栄から徒歩6分
物件所在地 新潟県長岡市愛宕3丁目 甲1509番
物件種別 売土地・分譲地
物件区分 売土地
構造 - 階建 -
建ぺい率/容積率 60%/160%
建物面積 -
土地面積 177.46㎡ /53.68坪
築年月 -
入居(引き渡し)時期 相談
用途地域 第1種住居地域 地目 宅地  (現状:宅地)
都市計画 市街化区域 学校区 川崎東小学校(603m)・東北中学校(811m)
形状 間口 7.43m × 奥行 23.7m 道路 北東側 公道 幅員3.1m
私道 - その他の制限 -
  • 愛宕3丁目 売土地
    髙頭不動産 株式会社
  • この物件を問い合わせる/無料
  • TEL: 0120-1818-27

物件詳細情報

所在階/階数 - 号室 -
販売価格 8,500,000円 方位 -
間取り -
専有面積 - バルコニー面積 -
その他面積 - 駐車場 -
管理費 - 修繕積立金 -
現況 -
仲介手数料 346,500円
利用制限 -
設備 整形地、更地、スーパー近く、閑静な住宅街、建築条件なし、所有権、都市ガス(前面道路)、上水道(前面道路)、下水道(前面道路)、電気、都市ガス(宅地内)、上水道(宅地内)、下水道(宅地内)、前面道路融雪設備あり、住宅向け
取引態様 専任
備考 前面道路2項道路の指定有り。
※本物件は道路後退部分を長岡市へ寄付済みの為、2項道路に係るセットバックは必要無。
取り扱い会社

髙頭不動産 株式会社

新潟県長岡市千歳1-3-25

情報登録日 2025/08/26 次回更新予定日 2026/06/06
取引条件有効期限 2025/11/01
  • 愛宕3丁目 売土地
    髙頭不動産 株式会社
  • この物件を問い合わせる/無料
  • TEL: 0120-1818-27

この物件の地図・周辺情報・行政情報

この物件の周辺情報・行政情報を詳しく見る
【周辺情報】
物件の近くにあるコンビニや銀行・学校など、アイコン付のマップで詳しく表示できます!
【行政情報】
水道料や下水道料・ガス料金など、暮らしに関係のある情報を表示しています。
ファミリーマート 長岡新町二丁目店(コンビニ)まで560m
ラ・ムー 長岡愛宕店(スーパー)まで550m
ことり薬局(ドラッグストア)まで440m
まつむら第二歯科(病院)まで400m
あたごこどもクリニック(病院)まで440m
第四北越銀行 新町支店(銀行)まで620m
長岡東神田郵便局(郵便局)までm

※カメラのアイコンがある場合は、マウスをポイントするとその施設の画像がご覧いただけます。


担当取扱い店舗情報

取扱い店舗画像
髙頭不動産 株式会社
TEL: 0120-1818-27
所在地: 新潟県長岡市千歳1-3-25
交通: 長岡駅
営業時間: 8時30分~17時30分(大手支店は9時~18時)/定休日:本社:土日祝日(事前予約での対応可能)、支店:日曜祝日第5土曜(毎年2月下旬から3月は休みなし)
免許番号: 新潟県知事(17)第191号 この会社の情報を詳しく見る
所属団体名: 新潟県宅地建物取引協会 長岡支部
取引態様: 専任
ホームページ: http://www.takato-f.com